Фарборозпилювач низького тиску З-44 (дивіться малюнок нижче) призначений для повітряного розпилення барвистих складів в’язкість по віскозиметрі ВЗ-4 не більше 30 с. Застосовують для фарбування поверхонь при малих обсягах робіт. Всі основні деталі фарборозпилювача (корпус, стакан і головка) виконані з капрону.
Фарборозпилювач СО-44

1 — порожниста трубка для підключення шланга пилососа, 2 — курок, 3 — головка,
4 — отвір сопла, що перекривається голкою, 5 — бак, 6 — кришка, 7 — запор кришки,
8 — трубка подачі стисненого повітря в бачок, 9 — регулятор голки.
Стиснене повітря з надлишковим тиском 0,1 кгс/см2 від повітродувки або пилососа типу «Буран» по шлангу, підключеному в порожнисту ручку, надходить у головку на розпорошення. Барвистий склад під тим же тиском надходить із склянки в головку. Стиснене повітря подається в склянку з фарбою по гнучкому шлангу.
Фарборозпилювач універсальний З-87

1 — головка з насадкою, 2 — голчастий клапан, 3 — регулятор ходу голчастого клапана,
4 — штуцер подачі стисненого повітря, 5 — курок, 6 — штуцер подачі барвистого складу.
Фарборозпилювач СО-87
Фарборозпилювач СО-87 (дивіться малюнок вище) застосовується для виконання великих обсягів робіт, а фарборозпилювач СО-90 (дивіться малюнок нижче) — для звичайних клейовими і олійними складами.
Фарборозпилювач універсальний СО-90

1 — головка з насадкою, 2 — стакан для фарби, 3 — голчастий клапан,
4 — регулятор голчастого клапана, 5 — штуцер повітря,
6 — курок, 7 — місце приєднання штуцера для фарби.
На корпусі фарборозпилювача розташовані регулятори пересування голчастого клапана і зміни форми факела барвистого складу, а також повітряний клапан і курок.
Фарборозпилювач СО-72
Фарборозпилювач СО-72 (дивіться малюнок нижче) призначений для фарбування великих поверхонь барвистими складами в’язкістю не більше 50 с. Розпилювальна головка має верхній склянку, нижній бачок, матеріальний шланг приєднується до нижнього ніпеля. Регулюють голчастий клапан з допомогою кремальера, розміщеного в прорізі корпусу фарборозпилювача.
Фарборозпилювач СО-72

1 — ніпель для підвісного унітазу з фарбою або штуцера зі шлангом від бака з фарбою, 2 — голчастий клапан, 3 — кріпильна гайка, 4 — насадка, 5 — сопло, 6 — пробка, що закриває отвір для склянки з фарбою, 7 — корпус, 8 — пружина голчастого клапана, 9 — регулятор ходу голки, 10 — пружина, 11 — клапан — регулятор надходження стисненого повітря, 12 — канал для стисненого повітря, 13 — рукоятка, 14 — штуцер для шланга, що підводить стиснене повітря, 15 — курок.
Фарборозпилювач СО-6A призначений для виробництва альфрейных художніх робіт. Барвистий склад надходить у розпилювальну головку самопливом із склянки.
Фарборозпилювач СО-24А служить для нанесення на поверхні стін і стель шпаклювальних складів.
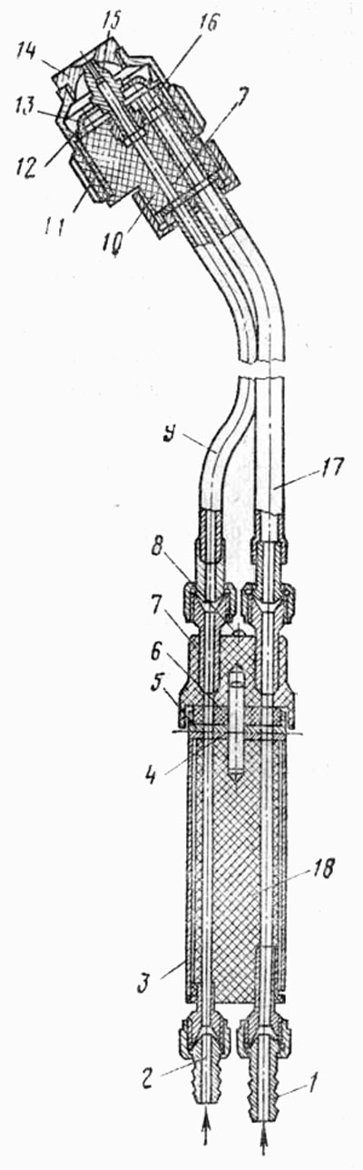
На малюнку нижче показана вудка для нанесення шпаклівки. Продуктивність вудки 200-400 м2/год, тиск повітря—1,5—2,5 кгс/см2, фарби — 2-3,5 кгс/см2.
Вудка для нанесення шпаклівки

1 — ніпель для шпаклівки, 2 — ніпель для повітря, 3 — корпус рукоятки, 4 — рухомий диск, 5 — нерухомий диск, 6 гумовий демпфер, 7 — головка, 8 натяжний гвинт, 9 — трубка для повітря, 10 — корпус головки, 11— кришка, 12 — манжета, 13 — шайба, 14 — ніпель для розпилення, 15 — сопло, 16 — матеріальний дросель, 17 — трубка для шпаклівки, 18 — рукоятка.
«Довідник молодого маляра», Ф. Ф. Мовчан






